Контакты На главную milleon@yandex.ru  

ТИПИЧНЫЕ ВОПРОСЫ
- типичные вопросы по отоплению
- типичные вопросы по кондиционированию
- типичные вопросы по водоснабжению
ТИПИЧНЫЕ ОШИБКИ
ПОЛЕЗНЫЕ СОВЕТЫ


ТИПИЧНЫЕ ОШИБКИ В ОТОПЛЕНИИ.
КОНДЕНСАТОСБОРНИК.

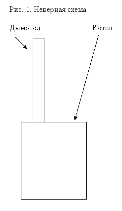
Ошибка №2.

Дымоход выполняется без конденсатосборника.

Комментарий.



Образующийся на стенках дымохода конденсат стекает на теплообменник котла, что приводит к его разрушению.

Верное решение.

При создании дымохода должен быть предусмотрен конденсатосборник, который должен уходить вниз относительно горизонтального колена дымохода не менее чем на 25 мм (см. рис. 2).





Леонид Милеев
Независимый консультант

   2007-2016. Все права защищены. Использование любых материалов с сайта только с разрешения автора.